Yaqin MS22 (Tube Phono)

Aktualisiert am: 25. Okt. 2018

Der Yaqin MS22 (deutscher Decknamen „Tube Phono“) ist ein niedlicher, kleiner Fratz – ’tschuldigung, ein Phono-Röhrenvorverstärker (-chen). Niedlich ist das Teil trotzdem. Wer noch ein kleines Plätzchen im HiFi-Rack übrig hat und unbedingt einen Phono-Pre mit Röhren haben will – also da bietet sich der MS22 (aka „Tube Phono“) ja geradezu an.

In die Hand gedrückt wurde mir dieser Phono-Pre, weil er im Zusammenspiel mit einem alten Dual-Plattenspieler und potentem Röhrenverstärker ein Brummen fabrizierte. Und das witzigerweise nicht auf beiden Kanälen, sondern nur auf einem Kanal…

Sie haben nun auch den Dual-Plattenspieler in Verdacht? Genau. Da lag der Hund begraben. Aber nicht nur… Nachdem das Signalkabel ersetzt wurde, brummte es dann „ordnungsgemäß“ auf beiden Kanälen. Klarer Fall einer klassischen Brummschleife!

yaqin_ms22

MS22 Fundsachen

Aber eruieren wir mal, was man über den Yaqin MS22 (respektive „Tube Phono“) im Netz so alles findet. Und man findet viel. Einen Schaltplan (den man erstmal „sauber“ zeichnen muss – Yaqin hat da manchmal eine merkwürdige Darstellungsweise), eine sehr umfangreiche Tuning-Anleitung als PDF (nebst kritische Anmerkungen wie das durchgeführt wurde – und das zurecht) und vor allem eins: Brummprobleme. Immer wieder.

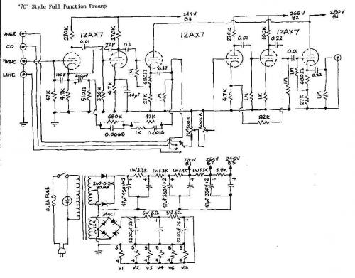
marantz-7cNachdem der Schaltplan sauber umgezeichnet wurde, wird dem Kenner sofort klar, dass es sich bei dem MS22 „nur“ um eine Adaption des Marantz 7C Vorverstärkers handelt. Zumindest, was die Phono-Sektion betrifft.

Die entsprechende Line-Stufe (der eigentliche Vorverstärker, die Line-Stufe) fehlt hier nämlich komplett. McIntosh und Gibson (genau die) haben solchen Vorverstärker auch mal im Angebot gehabt (worauf sich das „Designed in Germany“ beim „Tube Phono“ nun also bezieht, kann ich nicht sagen – ähnliche Verstärkerkonzepte gibt es zuhauf). Schaltungstechnisch kann man den M22 kurz umschreiben: Ein zweistufiger Vorverstärker mit 12AX7-B der die Entzerrung aktiv vornimmt – also als Gegenkopplung. Die dritte Röhrenstufe ist lediglich ein Impedanzwandler und im Yaqin M22 Phono-Pre mit einem Transistor bestückt.

Kann man machen. Vollkommen in Ordnung.

Über die Vor- und Nachteile von passiver und aktiver Entzerrung kann man wunderbar diskutieren. Ich persönlich fröhne den Fetisch der passiven Entzerrung. Das allerdings geht mit einer derartigen Röhrenschaltung nicht (so gut), weswegen ich zugeben muss, dass hier die aktive Entzerrung mehr Vorteile bringt.

(A-) Typisches

Yaqin-typisch werden als Koppelkondensatoren (richtiger: Ausgangskondensatoren) die sattsam bekannten X2-Kondis eingesetzt. Das Entzerrernetzwerk wird mit MKT-Kondensatoren gebildet (ohne Wenn und Aber – das geht völlig in Ordnung). Die Widerstände sind rauscharme Metallschichttypen. Bis hierhin nix neues unter der Sonne.

Atypisch aber diesmal: Nach dem Einschaltung kommt die Versorgungsspannung nur gemächlich in die Puschen. So, als ob da irgendwo ein Röhrengleichrichter verbaut wurde. Ist es aber nicht. Das kenne ich allerdings von diesem Hersteller so nicht.

Phono-Pre mit eingebauter Brummschleife

Die gesamte Röhrenschaltung ist zudem direkt geerdet. Soweit kein Thema. Allerdings… Und jetzt kommt die Krux: Kommt da noch ein weiteres, direkt geerdetes, Gerät hinzu, muss man schon gut aufpassen, um keine Brummschleife (via Netz- und Cinchkabel) zu „fabrizieren“. Und das ist in diesem Fall fast unmöglich.

Kommt noch ein Plattenspieler hinzu, der unbedingt geerdet werden will (der M22 bietet hierfür eine zusätzliche, geerdete (!), Anschlussklemme) kann man das Wörtchen „fast“ ersatzlos streichen. Besonders dann, wenn die dünne, schwarze, Erdungslitze des Plattenspielers an den zuvor genannten Erdungsanschluss verbunden wird.

Nochmals, damit es ganz deutlich wird: Der M22 liegt mit der Schaltungsmasse direkt auf Erde (Schutzleiter). Damit natürlich auch die Masse der Cinchbuchsen. Der Plattenspieler ist also bereits geerdet.

Noch eine Erde und die Schleife brummt.

Bei diesem Phono-Verstärker kommt noch erschwerend hinzu, dass das Chassis quasi als Leiterbahn zum Schutzleiter und als Massebahn „missbraucht“ wird. Zusätzlich (Ausgepasst!) wird die bereits (über das Chassis) geerdete Schaltungsmasse nochmals zum Trafo geführt – als Schirmung.

Nur – der Trafo ist durch die Chassismontage bereits geerdet. Die zusätzliche Schirmung erzeugt dann also was? Richtig, ne hübsche Spule (auch wenn es nur eine „Wicklung“ ist) in die sich das Wechselstromfeld (Streufeld) des Trafos wunderbar induziert. Das ist übrigens ein Fehler, an der auch schon Profibastler verzweifelt sind.

Das die Masse über das Chassis führt, ist mittlerweile zwar Usus (ist und bleibt trotzdem falsch), aber: Bei solch empfindlichen Verstärkern kann das wirklich zu einem Problem (sprich Brumm durch Potentialunterschiede) führen. Wir arbeiten hier schliesslich mit ganz, ganz wenigen Millivolt die auf mehrere hundert Millivolt verstärkt werden müssen. Da machen sich wenige Milliohm Widerstand in der Massezuleitung sofort bemerkbar.

Ant-Brummrezept

Erde (Schutzleiter) und (indirekt geerdete) Schaltungsmasse werden an einem Punkt mit dem Chassis verbunden – somit fliessen auch keine Ströme mehr durch das Chassis. Der Trafoschirm und die Masseanschlüsse der Cinchbuchsen werden an einem Punkt mit der Verstärkermasse (von Platine) verbunden.

Netzteilseitig muss diesmal anstatt ab-, aufgerüstet werden. Die Gleichspannung weist mir persönlich noch eine zu grosse Restwelligkeit auf. Nach dem Gleichrichter wird die Siebkapazität deshalb schlichtweg verdoppelt. Ein parallel geschalteter MKP sorgt dann schlussendlich dafür, dass wirklich „Ruhe im Karton“ ist und auch das Oszilloskopbild zeigt danach wirklich nur noch „Null-Linie“. Die Siebkapazität scheint „etwas“ übertrieben zu sein, aber gerade bei empfindlichen Phonovorverstärkern darf man das…

Nächster Knackpunkt

Die Röhren werden mittels elektronischem Schaltkreis (7812) mit 12 Volt beheizt. Das ist ein bisschen wenig. In meinem Gerät mussten zwei zusätzliche Dioden eingelötet werden, um den Schaltkreis zu zwingen, 12,6 Volt zu produzieren. Mit 12 Volt wird der seriell beschaltete Heizfaden einer 12AX7 (B) etwas unterheizt, was sich dann auch klanglich bemerkbar macht. Ob man das gut oder schlecht findet, soll jeder für sich selber entscheiden.

Und nun etwas kurioses: Im Schaltplan findet man zwei seriell geschaltete Kondensatoren zu je 100pF. Und das auch noch als Keramik. Hieraus ergibt sich eine Gesamtkapazität von 50pF. Zur Kuriosität gehört, dass diese Kondensatoren die Anoden der beiden Röhrenstufen miteinander verbinden. Oha.

Im Marantzplan gehen dagegen 22pF von der Anode der zweiten Stufe auf die Kathode der ersten Stufe. Desweiteren muss man die Kathodenbeschaltung der ersten Röhrenstufe beachten. Dem Kathodenwiderstand ist eine Serienschaltung von Elko und Widerstand parallel geschaltet. So „blödsinnig“ das alles zunächst aussieht – das lassen wir besser so. Lediglich der Universal-Elko wird durch ein Audio-Elko und die Keramikkondensatoren werden durch einen einzigen Styroflexkondensator ersetzt (das ganze natürlich mal zwei).

Die dicken Ausgangskondensatoren werden durch vernünftige MKP’s ersetzt und spendieren diesen zusätzlich noch ein paar kleinere, parallele Styroflexkapazitäten. Schlussendlich schliessen wir den Ausgang noch ganz reell mit einem zusätzlichen Widerstand ab. Fehlt dieser Abschlusswiderstand, bekommt der anzuschliessende Verstärker (bedingt durch seine Eingangsimpedanz) eine viel zu grosse Bedeutung. Das kann sich dadurch bemerkbar machen, dass der Yaqin M22 an Verstärker A klingt, an Verstärker B eben nicht.

Das wars eigentlich. Mehr gibts nicht zu tun. Wirklich nicht.
Übrigens: Dem Phono-Pre stände eine zusätzliche Line-Stufe gut zu Gesicht. So alleine reicht die Verstärkung nicht aus, um einen potente Röhrenverstärker richtig anzusteuern.

Kleine Anmerkung zum dem PDF in dem das Verstärker-Tuning beschrieben wird: Theoretisch ein guter Ansatz, wenn Kosten und Nutzen keine Rolle spielen. Wer selber „tunen“ will, sollte allerdings darauf auchten, vernünftig dimensionierte (also von der Grösse her) Kondensatoren einzusetzen. Vom Umbau der letzten Verstärkerstufe (Impedanzwandler) auf Röhre ist hier aber abzuraten.

Läuft. Hört sich gut an. Besser!

Das ist die vielgerühmte westfälische Ekstase… 😉

frihu

…hört gerne Musik. Über Röhrenverstärker. Musikrichtung egal. Ausser Jazz, Hip-Hop, House, Metal, Trash, Schlager, Volksmusik, Gangsta-Rap (noch schlimmer, wenn in Deutsch gebrüllt). Da krieg' ich ein Hörnchen. Autor der Bücher: Hören mit Röhren, Röhrenschaltungen und High-End Röhrenschaltungen. Artikel in hifi-tunes (Röhrenbuch 2): Bauteileauswahl für Röhrenverstärker und EL509 Single-Ended Röhrenverstärker im Selbstbau

Kommentare sind geschlossen.